|
DJ41Y型低溫截止閥的詳細資料:
低溫截止閥適用于低溫液體貯運設備的管理系統,具有開關靈活、密封可靠的特點,低溫截止閥也可用于其他低溫和深冷介質的管理系統。
產品特點:國標低溫截止閥,國標低溫節流閥,低溫截止閥閥

二、DJ41Y型低溫截止閥執行標準:
|
設計與制造 |
結構長度 |
浩蘭尺寸 |
壓力-溫度 |
試驗-檢驗 |
|
JB/T7749 |
GB12221 |
JB79 |
GB9131 |
JB/T9092 |
三、DJ41Y型低溫截止閥壓力試驗:
|
公稱壓力PN |
1.6 |
2.5 |
4.0 |
|
強度試驗 |
2.4 |
3.8 |
6.0 |
|
水密封試驗 |
1.8 |
2.8 |
4.4 |
|
上密封試驗 |
1.8 |
2.8 |
4.4 |
|
氣密封試驗 |
0.4-0.7 |
四、DJ41Y型低溫截止閥主要零件材料及性能:
|
體蓋板 |
閥桿 |
密封面 |
墊片 |
埴料 |
工作溫度℃ |
適用介質 |
|
LCB |
1Cr17Ni12 |
DTL/DTL |
1Cr13/柔性石墨低溫石棉 |
PTFE 浸四氟乙 烯石棉繩 柔性石墨 |
-46 |
丙烷/丙烯 甲醇,乙烷 煤氣/液氨 |
|
LC1 |
-60 |
|
LC2 |
-73 |
|
LC3 |
1Cr18Ni9Ti |
-101 |
|
LC4 |
-115 |
|
LC8 |
-196 |
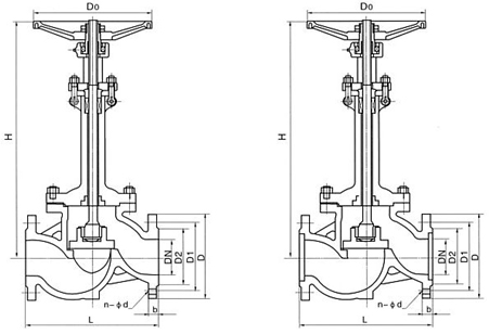
五、國標低溫截止閥(節流)閥 PNl.6MPa一4.0MPa 規格主要尺寸:
|
1.6MPa |
DN |
L |
D |
D1 |
D2 |
b |
n-Φd |
H |
D0 |
|
-46℃ |
4-101℃ |
-196℃ |
|
凸面法蘭 RF DJ41Y-16L DJ41Y-16L C1 DJ41Y-16L C2 DJ41Y-16L C3 DJ41Y-16L C4 DJ41Y-16P DJ41Y-16R |
50 |
230 |
160 |
125 |
100 |
16 |
4-Φ18 |
460 |
480 |
520 |
240 |
|
65 |
290 |
180 |
145 |
120 |
18 |
4-Φ18 |
475 |
505 |
525 |
280 |
|
80 |
310 |
195 |
160 |
135 |
20 |
8-Φ18 |
520 |
550 |
590 |
280 |
|
100 |
350 |
215 |
180 |
155 |
20 |
8-Φ18 |
545 |
575 |
615 |
320 |
|
125 |
400 |
245 |
210 |
185 |
22 |
8-Φ18 |
590 |
620 |
660 |
360 |
|
150 |
480 |
280 |
240 |
210 |
24 |
8-Φ23 |
650 |
680 |
730 |
400 |
|
200 |
600 |
335 |
295 |
265 |
26 |
12-Φ23 |
850 |
880 |
930 |
400 |
|
250 |
730 |
405 |
355 |
320 |
30 |
12-Φ25 |
956 |
986 |
1036 |
450 |
|
300 |
850 |
460 |
410 |
375 |
30 |
12-Φ25 |
1095 |
1125 |
1175 |
500 |
|
2.5MPa |
50 |
230 |
160 |
125 |
100 |
20 |
4-Φ18 |
460 |
460 |
520 |
240 |
|
凸面法蘭 RF DJ41Y-25L DJ41Y-25L C1 DJ41Y-25L C2 DJ41Y-25L C3 DJ41Y-25L C4 DJ41Y-25P DJ41Y-25R |
65 |
290 |
180 |
145 |
120 |
22 |
8-Φ18 |
475 |
505 |
525 |
280 |
|
80 |
310 |
195 |
160 |
135 |
22 |
8-Φ18 |
520 |
550 |
590 |
280 |
|
100 |
350 |
230 |
190 |
160 |
24 |
8-Φ23 |
545 |
575 |
615 |
320 |
|
125 |
400 |
270 |
220 |
188 |
28 |
8-Φ25 |
590 |
620 |
660 |
360 |
|
150 |
480 |
300 |
250 |
218 |
30 |
8-Φ25 |
650 |
680 |
730 |
400 |
|
200 |
600 |
360 |
310 |
278 |
34 |
12-Φ25 |
850 |
880 |
930 |
400 |
|
250 |
730 |
425 |
370 |
332 |
36 |
12-Φ30 |
956 |
986 |
1036 |
450 |
|
300 |
850 |
485 |
430 |
390 |
40 |
16-Φ30 |
1095 |
1125 |
1175 |
500 |
|
4.0MPa |
50 |
230 |
160 |
125 |
100 |
20 |
4-Φ18 |
483 |
504 |
546 |
240 |
|
凸面法蘭 RF DJ41Y-40L DJ41Y-40L C1 DJ41Y-40L C2 DJ41Y-40L C3 DJ41Y-40L C4 DJ41Y-40P DJ41Y-40R |
65 |
290 |
180 |
145 |
120 |
22 |
8-Φ18 |
499 |
530 |
551 |
280 |
|
80 |
310 |
195 |
160 |
135 |
22 |
8-Φ18 |
546 |
578 |
620 |
280 |
|
100 |
350 |
230 |
190 |
160 |
24 |
8-Φ23 |
572 |
604 |
646 |
320 |
|
125 |
400 |
270 |
220 |
188 |
28 |
8-Φ25 |
620 |
651 |
693 |
360 |
|
150 |
480 |
330 |
2850 |
218 |
30 |
8-Φ25 |
683 |
741 |
767 |
400 |
|
200 |
600 |
375 |
320 |
282 |
38 |
12-Φ30 |
893 |
924 |
977 |
400 |
|
250 |
730 |
445 |
385 |
345 |
42 |
12-Φ34 |
1004 |
1035 |
1088 |
450 |
|
300 |
850 |
510 |
450 |
408 |
46 |
16-Φ34 |
1150 |
1181 |
1234 |
500 | |